Prepare for the Arcitura Education Cloud Technology Lab exam with our extensive collection of questions and answers. These practice Q&A are updated according to the latest syllabus, providing you with the tools needed to review and test your knowledge.
QA4Exam focus on the latest syllabus and exam objectives, our practice Q&A are designed to help you identify key topics and solidify your understanding. By focusing on the core curriculum, These Questions & Answers helps you cover all the essential topics, ensuring you're well-prepared for every section of the exam. Each question comes with a detailed explanation, offering valuable insights and helping you to learn from your mistakes. Whether you're looking to assess your progress or dive deeper into complex topics, our updated Q&A will provide the support you need to confidently approach the Arcitura Education C90.03 exam and achieve success.
Organization A has been expanding and, as a result, is outgrowing the processing capacity of its on-premise Service A implementation. It is determined that this is due to usage thresholds of Service A and complex data processing limitations in Database A . The diagram depicts Organization A's current on-premise environment, where Service Consumers A . B and C attempt to access Service A at the same time. Service Consumer A successfully accesses Service A, which then successfully retrieves the requested data (1). Service Consumer B successfully accesses Service A, but due to the complex data structure, the request for the data times out and fails (2). Finally, Service Consumer C attempts to access Service A, but is rejected because Service A is unable to accept more concurrent requests.

Organization A is required to continue using its on-premise Service A implementation, with the exception of Database A, which does not need to remain on-premise. Database A is dedicated to Service A and is comprised of relational data. Which of the following statements provides a solution that uses cloud-based IT resources to solve the performance limitations of Service A and Database A?
Cloud Provider X (which owns Cloud X) deploys two physical servers (Physical Servers A and B) and two databases (Databases A and B). Virtual Servers A and B are hosted by Physical Server A and Ready-Made Environments A and B are hosted by Virtual Server B . Virtual Servers C and D are hosted by Physical Server B . Cloud Service Consumer A regularly accesses Virtual Server D in order to test and deploy a new cloud service that was developed on-premise by the cloud consumer organization operating Cloud Service Consumer A . Cloud Service Consumer B (operated by a different cloud consumer organization) has been regularly accessing Ready-Made Environment A in order to develop and deploy a different new cloud service. The cloud consumer organizations that own and operate Cloud Service Consumers A and B will soon be ready to launch their respective cloud services for use by their customers. Both cloud consumer organizations are concerned that Cloud X does not provide sufficient security and they demand that Cloud Provider X take the necessary steps to mitigate the denial of service, insufficient authorization and overlapping trust boundaries security threats.

Which of the following statements accurately describes the cloud delivery models used now by the cloud service consumers and in the future by their customers - and - further describes a solution that fulfills the identified security requirements by implementing a single cloud security mechanism?
Organization A has been expanding and, as a result, is outgrowing the processing capacity of its on-premise Service A implementation. It is determined that this is due to usage thresholds of Service A and complex data processing limitations in Database A . The diagram depicts Organization A's current on-premise environment, where Service Consumers A . B and C attempt to access Service A at the same time. Service Consumer A successfully accesses Service A, which then successfully retrieves the requested data (1). Service Consumer B successfully accesses Service A, but due to the complex data structure, the request for the data times out and fails (2). Finally, Service Consumer C attempts to access Service A, but is rejected because Service A is unable to accept more concurrent requests.

Organization A is required to continue using its on-premise Service A implementation, with the exception of Database A, which does not need to remain on-premise. Database A is dedicated to Service A and is comprised of relational data. Which of the following statements provides a solution that uses cloud-based IT resources to solve the performance limitations of Service A and Database A?
Cloud Service Consumer A invokes Cloud Service A from Cloud X (owned by Cloud Provider X) (1). To fulfill the request from Cloud Service Consumer A, Cloud Service A needs to invoke Cloud Service B that resides on Cloud Y (owned by Cloud Provider Y) (2). After completing its processing, Cloud Service B sends a response to Cloud Service A (3). Cloud Service A verifies the response and then finally sends its response to Cloud Service Consumer A (4).

The guaranteed availability of the Cloud Service A implementation is 95% and the guaranteed availability of the Cloud Service B implementation is 95%. Which of the following statements accurately describes the actual availability that Cloud Service Consumer A can receive based on the described scenario?
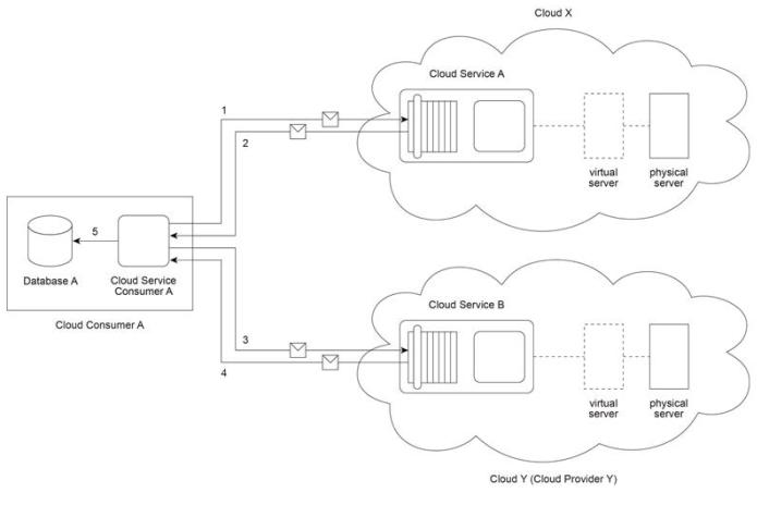
Cloud Service Consumer A accesses Cloud Service A (1) that resides in Cloud X. a private cloud owned by the same organization acting as Cloud Consumer A . Cloud Service A processes the message from Cloud Service Consumer A and then sends back a response with the requested data (2). Next, Cloud Service Consumer A sends a message containing some of this data to Cloud Service B (3), which resides in public Cloud Y that is owned by Cloud Provider Y. After processing the message. Cloud Service B sends back a response with additional data to Cloud Service Consumer A (4). Finally, Cloud Service Consumer A writes the data it collected from Cloud Services A and B to Database A (5). Recently, Cloud Service Consumer A has been required to access Cloud Services A and B at a significantly higher rate, sometimes over 1,000 times within a given workday. This increased usage has not affected Cloud Service B' s performance. Cloud Service A, however, has been generating runtime exceptions, and responses to Cloud Service Consumer A have become increasingly slow and unreliable. It is determined that this decline in performance is due to infrastructure limitations within private Cloud X' s environment. Instead of investing in new infrastructure for Cloud X, it is decided to explore the feasibility of moving Cloud Service A to Cloud Y instead.

Which of the following statements describe valid financial considerations that can be taken into account for assessing the feasibility of this move?
Full Exam Access, Actual Exam Questions, Validated Answers, Anytime Anywhere, No Download Limits, No Practice Limits
Get All 21 Questions & Answers